Welcome to the Project…

Verfahren zur Bedienung einer Steuervorrichtung

Method to operate a control device for energising at least one coil of a permanently magnetisable chuck and corresponding control device (EP2175459)

Verfahren zur Bedienung einer Steuervorrichtung zur Erregung von mindestens einer Spule eines permanent magnetisierbaren Spannfutters und entsprechende Steuervorrichtung (EP2175459)

Aktenzeichen EP: 08 01 7859.3

Veröffentlichungsnummer EP: 2175459

Übersicht: EP2175459

Zusammenfassung von EP2175459  (B1):

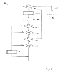
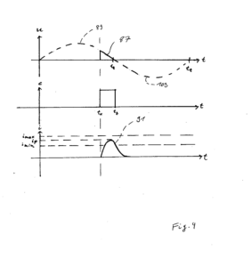
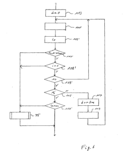
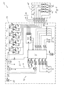
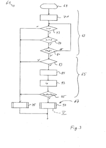
Verfahren (61) zum Betreiben einer Steuervorrichtung (13) zum Erregen wenigstens einer Spule (33) eines permanent magnetisierbaren Spannfutters (15), um eine Magnetisierung des Spannfutters (15) zu ändern, wobei die Steuervorrichtung (13) eine elektrische Verbindung (17) mit wenigstens einem Leiter (C1-A, C1-B, C1-C, C1-D, C1-F) zur Verbindung einer Stromversorgungsschaltung (25) der Steuervorrichtung (13) mit der Spule (33) umfasst, wobei das Verfahren (61) die Erregung (97) der Spule mittels der Stromversorgungsschaltung (25) zur Änderung der Magnetisierung umfasst, wobei das Verfahren (61) ferner das Verifizieren (63, 65, 73) elektrischer Eigenschaften am wenigstens einen Leiter (C1-A, C1-B, C1-C, C1-D, C1-F) und/oder elektrischer Eigenschaften (i) der Stromversorgungsschaltung (25) umfasst, wobei das Verifizieren (63, 65) vor dem Erregen (97) durchgeführt wird, dadurch gekennzeichnet, dass das Verifizieren (63, 65) das Erkennen (77) ob der Leiter (C1-A, C1-B, C1-C, C1-D, C1-F) einer Versorgungsspannung (u) der Steuervorrichtung (13) ausgesetzt ist umfasst.

Method (61) to operate a control device (13) for energising (97) at least one coil (33) of a permanently magnetisable chuck (15) to modify a magnetisation of the chuck (15),
wherein the control device (13) comprises an electrical connection (17) having at least one conductor (C1-A, C1-B, C1-C, C1-D, C1-F) to connect power supply circuitry (25) of the control device (13) with the coil (33),
the method (61) comprising energising (97) the coil by means of said power supply circuitry (25) to modify the magnetisation,
wherein the method (61) further comprises verifying (63, 65, 73) electrical characteristics at the at least one conductor (C1-A, C1-B, C1-C, C1-D, C1-F) and/or electrical characteristics (i) of the power supply circuitry (25), wherein said verifying (63, 65) is performed before said energising (97), characterised in that the verifying (63, 65) comprises detecting (77) whether the conductor (C1-A, C1-B, C1-C, C1-D, C1-F) is subjected to a supply voltage (u) of the control device (13).

Recherche: Europäisches Patentamt